| No. | Part nr. | Description | Add info. | Qty. |
|---|---|---|---|---|
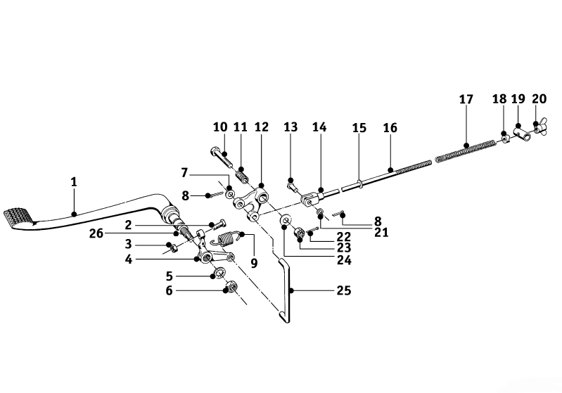
| 1 | 35214044032 | Foot brake lever | 1 | |
| 2 | 07119913463 | Hex head screw | M6x16 | 1 |
| 3 | 07119922059 | Hex nut | M6 | 1 |
| 4 | 35214044234 | Lever for thrust rod | 1 | |
| 5 | 07119936226 | Serrated washer | J10.5 | 1 |
| 6 | 07119922121 | Hex nut - SSt | M10x1 T=7.9 mm | 1 |
| 07119921616 | Hex nut - flat | M10x1 T=6 mm | 1 | |
| 7 | 07119931655 | Washer | Ø 8.4 mm | 1 |
| 8 | 07119945090 | Split pin | 2x18 mm | 2 |
| 9 | 35214044215 | Tension spring | 1 | |
| 10 | 07119912508 | Hex head screw | M8x45 | 1 |
| 11 | 35214044266 | Bushing | 1 | |
| 12 | 35214044226 | Angle lever >1965 | Ø 6 mm | 1 |
| 35214044258 | Angle lever <1965 | Ø 8 mm | 1 | |
| 13 | 07129940395 | Bolt | Ø 8 mm | 1 |
| 14 | 35214044229.6 | Fork head | Ø 6 mm | 1 |
| 16 | 35214044229 | Connecting rod | Ø 6 mm | 1 |
| 35214044225 | Connecting rod | Ø 8 mm | 1 | |
| 17 | 34214044137 | Spring | 1 | |
| 18 | 34214044133 | Barrel | 1 | |
| 19 | 34214044141 | Bolt | Ø 14 mm | 1 |
| 20 | 34214044115 | Wing nut | 1 | |
| 21 | 07119931655 | Washer | Ø 8 mm | 1 |
| 22 | 07119945111 | Split pin | 2x20 mm | 1 |
| 23 | 07119923412 | Crown nut | M8 | 1 |
| 24 | 33324544160 | Shim | 1 | |
| 25 | 35214044262 | Thrust rod | 1 | |
| 26 | 35214044033 | Bearing bolt for foot brake lever | 1 |
