| No. |
Part nr. |
Description |
Add info. |
Qty. |
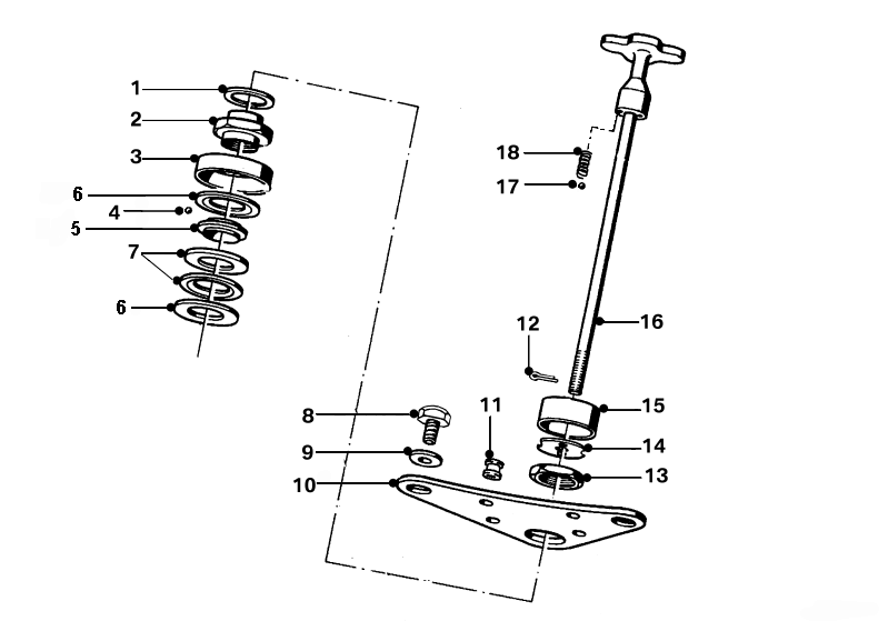
| 1 |
31411231201 |
Shim 1.5 mm |
|
1 |
|
31411231202 |
Shim 2.0 mm |
|
1 |
|
31411231203 |
Shim 2.5 mm |
|
1 |
|
31411231204 |
Shim 3.0 mm |
|
1 |
| 2 |
31422000182.K |
Lower nut |
i.c.w. tapered roller bearing |
1 |
| 3 |
31412000184 |
Protective cover |
|
1 |
| 4 |
07119986255 |
Ball |
Ø 5.5 mm |
2x23 |
| 5 |
31412000193 |
Ball cage |
|
1 |
| 6 |
31412000188 |
Ball race with inside shoulder |
|
2 |
| 7 |
31412000190 |
Set of steering head ball bearings |
|
2 |
| x |
31422000000 |
Tapered roller bearing |
alternative to nr's 4-7 |
2 |
|
31412000181.K |
Adjustment lock nut |
i.c.w. 31422000000 |
1 |
| 8 |
31412000343 |
Fork screw |
|
2 |
| 9 |
31412000345 |
Washer |
|
2 |
| 10 |
31412000126 |
Fork bridge, upper |
|
1 |
| 11 |
31412000299 |
Rubber stop |
|
2 |
| 12 |
07119945111 |
Split pin 2 x 20 |
|
1 |
| 13 |
31412000101 |
Centering nut |
|
1 |
| 14 |
31422000245 |
Damper safety washer |
|
1 |
| 15 |
31422000110 |
Lock cap |
R50S, R69S |
1 |
|
31422000114 |
Lock cap |
R50, R50/2, R60. R60/2, R69 |
1 |
| 16 |
31412000048 |
Adjusting screw, friction damper |
R50, R50/2, R60, R60/2, R69 |
1 |
|
31422000049 |
Adjusting screw, hydraulic damper |
R50S, R69S |
1 |
| 17 |
07119986255 |
Ball 5,5 mm |
|
2 |
| 18 |
32712000118 |
Thrust spring |
|
2 |